Digitale Barrierefreiheit bedeutet, dass Websites und Anwendungen so gestaltet sind, dass sie von allen Menschen genutzt werden können – unabhängig von körperlichen, sensorischen oder kognitiven Fähigkeiten. Dazu gehören beispielsweise anpassbare Schriftgrößen, hohe Kontraste, Tastatursteuerung und die Kompatibilität mit Screenreadern. Unser Ziel ist es, Ihnen ein Einkaufserlebnis ohne Barrieren zu ermöglichen.




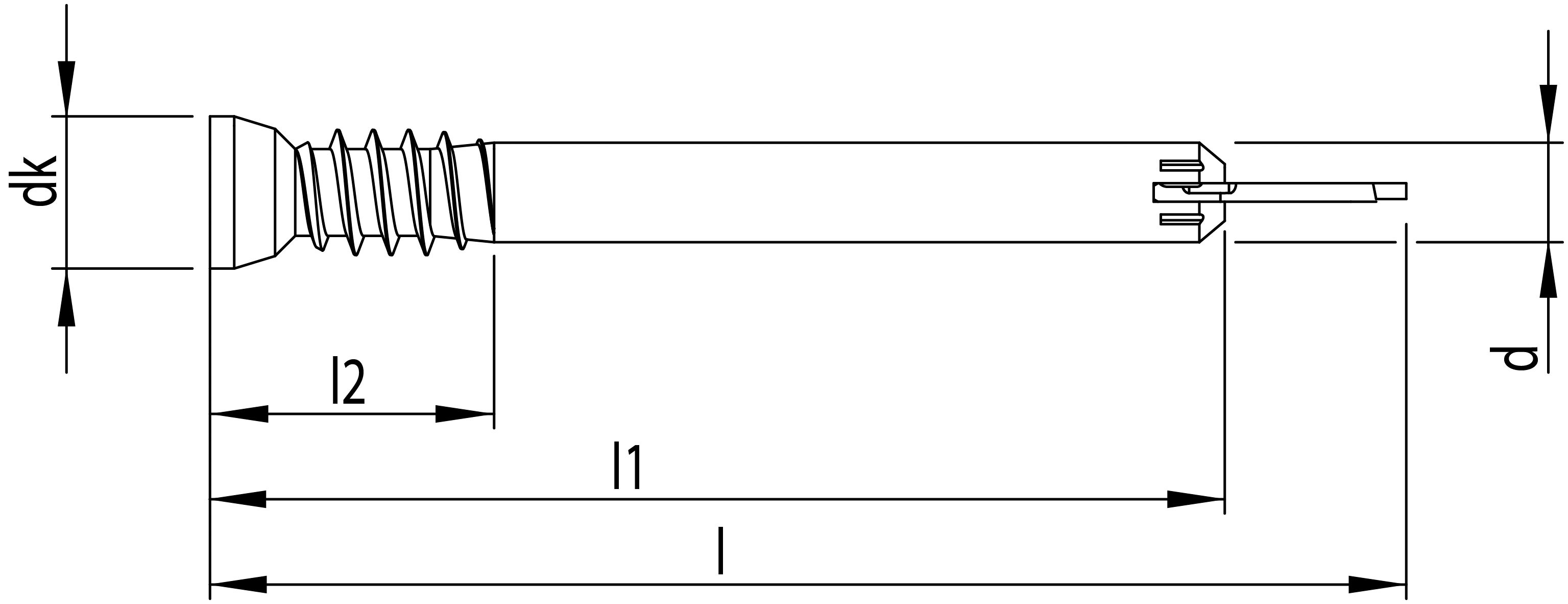
7x133mm, UK-Gew., T40, blau vz
Beschreibung
HECO-WS-T
Mehrschnittige Stahl-Holz-Verbindungen einfacher und wirtschaftlicher fertigen mit dem System HECO®-WS.
Mit dem System HECO®-WS erstellen Sie – auch als nicht lizenzierter Holzbaubetrieb – hochwertige Stahl-Holz-Verbindungen. Die Stabdübel werden zeitsparend in einem Arbeitsgang ohne Vorbohren in das Holz und durch die Stahlplatten gesetzt. Es können bis zu 3 Stahlbleche mit einer Stärke von je 5 mm durchbohrt werden. Die Holzoberfläche wird auf der Rückseite nicht durchstoßen. Für die Fachwerk-Knotenherstellung war bisher ein aufwändiger Prozess erforderlich. Mit dem neuen System HECO®-WS reduziert sich der Arbeitsablauf auf wenige Arbeitsschritte:
- Blech einpassen
- ausrichten und fixieren
- StabdĂĽbel setzen
PRODUKTSTÄRKEN
- Einfache Verwendung ohne Vorbohren von Holz und Stahl
- Selbstbohrend durch spezielle Bohrspitze
- Geeignet fĂĽr viele Anwendungen
- Einfache, zuverlässige Berechnung nach EN 1995-1-1
- Hohes FlieĂźmoment My,k = 31,93 Nm
- Demontierbar
- Fixierbar ĂĽber das Unterkopfgewinde
Lieferkosten
Legen Sie den gewĂĽnschten Artikel einfach auf die Anfrage-/Merkliste und starten Sie eine Preisanfrage.
Wir machen Ihnen gerne ein individuelles Angebot!
