Digitale Barrierefreiheit bedeutet, dass Websites und Anwendungen so gestaltet sind, dass sie von allen Menschen genutzt werden können – unabhängig von körperlichen, sensorischen oder kognitiven Fähigkeiten. Dazu gehören beispielsweise anpassbare Schriftgrößen, hohe Kontraste, Tastatursteuerung und die Kompatibilität mit Screenreadern. Unser Ziel ist es, Ihnen ein Einkaufserlebnis ohne Barrieren zu ermöglichen.




Ø8x100mm, Spez.-Schr. galv. vz
Beschreibung
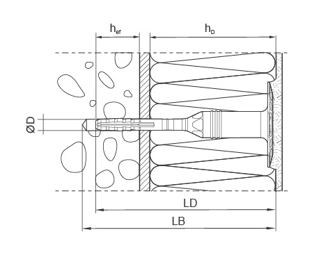
KEW Thermoschraubdübel - TSBD X
Thermoschraubdübel mit galv. verzinkter Spezialschraube
Zur Befestigung von außenseitigen Wärmedämm-Verbundsystemen mit Putzschicht in Beton und Mauerwerk
Eignung:
Zugelassen für:
Beton, Vollsteine und Lochsteine, Leichtbeton Voll- und Hohlblock, Porenbeton (Nutzungskategorien A - B - C - D - E)
Auch geeignet für:
Naturstein mit dichtem Gefüge
Zur Befestigung von:
verschiedenen Dämmstoffen z.B. in außenseitigen Wärmedämmverbundsystemen (WDVS) geeignet
Eigenschaften:
- Befestigungssystem bestehend aus Spreizdübel mit Halteteller und Schraube mit Spezialkopf mit Torx T 30 Aufnahme
- optimierte Spreizzone in bewährter KEW 3-Teilung für hohe Sicherheit in vielen Untergründen
- Spezialkopf verhindert Wärmeverluste und schützt die Schraube vor eindringender Feuchtigkeit
- Halteteller mit mörtelgriffiger Oberfläche, der auch optimal als Putzträger geeignet ist
- vormontierte Befestigungseinheiten reduzieren den Montageaufwand
- Mit ETA-08/0314 als Mehrfachbefestigung zur Verankerung von verklebten Wärmedämmverbundsystemen nach EAD-040083-00-0404
- erfüllt alle Anforderungen für die Nutzungskategorien A, B, C, D und E
Neuheiten Vorteile:
- optimiert geformte Spreizzone für besseren Halt in Baustoffen
- verlängerter Spreizzonenbereich für einen sicheren Halt in „Problembaustoffen“
- speziell für das oberflächenbündige Setzen des Dübeltellers in den Dämmstoff geänderter Schaftbereich
- extra weiterentwickelte Spezialkopfabdichtung zum Schutz der Stahlschraube und Verhinderung von Wärmeverlusten
Hinweis:
Das Bohrloch ist nach der Herstellung auszubürsten oder auszublasen. Alte Putze sind kein tragfähiger Untergrund. Bohrlochtiefe und Dübellänge sind entsprechend größer auszuwählen.
Rabatte
"KEW1"!
Wenn Sie weitere Artikel dieser Preisgruppe in den Warenkorb legen, wird der Rabatt automatisch angepasst und dort angezeigt. in Preisgruppe "KEW1" gelten folgende Rabatte:
| Mindestbestellwert | Rabatt | Preis |
|---|---|---|
Mindestbestellwert ab 0,00 € | Rabatt 0% Rabatt | Preis pro STK 71,51 € / 200 Stück inkl. MwSt.35,75 € / 100 Stück |
Mindestbestellwert ab 59,50 € | Rabatt 10% Rabatt | Preis pro STK 64,36 € / 200 Stück inkl. MwSt.32,18 € / 100 Stück |
Mindestbestellwert ab 119,00 € | Rabatt 15% Rabatt | Preis pro STK 60,78 € / 200 Stück inkl. MwSt.30,39 € / 100 Stück |
Mindestbestellwert ab 178,50 € | Rabatt 18% Rabatt | Preis pro STK 58,64 € / 200 Stück inkl. MwSt.29,32 € / 100 Stück |
Mindestbestellwert ab 238,00 € | Rabatt 20% Rabatt | Preis pro STK 57,21 € / 200 Stück inkl. MwSt.28,60 € / 100 Stück |
Mindestbestellwert ab 297,50 € | Rabatt 22% Rabatt | Preis pro STK 55,78 € / 200 Stück inkl. MwSt.27,89 € / 100 Stück |
Mindestbestellwert ab 357,00 € | Rabatt 24% Rabatt | Preis pro STK 54,35 € / 200 Stück inkl. MwSt.27,17 € / 100 Stück |
Mindestbestellwert ab 595,00 € | Rabatt 25% Rabatt | Preis pro STK 53,63 € / 200 Stück inkl. MwSt.26,82 € / 100 Stück |
Legen Sie den gewünschten Artikel einfach auf die Anfrage-/Merkliste und starten Sie eine Preisanfrage.
Wir machen Ihnen gerne ein individuelles Angebot!
Lieferkosten
Legen Sie den gewünschten Artikel einfach auf die Anfrage-/Merkliste und starten Sie eine Preisanfrage.
Wir machen Ihnen gerne ein individuelles Angebot!






